近期,由于资产处对其管理系统做了重大升级,所以资产变动等流程有了相应修改,现就使用率较高的操作做如下说明。(完整版操作见附录中的资产处官方使用指南)
一、进入平台
1、新版系统要用新核心的浏览器,如Edge、谷歌、火狐、360极速等(注意:不要用兼容模式,否则会影响使用)

图为360极速浏览器
2、在集团首页的底部进入门户网站(www.shnu.edu.cn),用学校统一认证的“用户名和密码”登录


3、登录后,点击融合门户右边“我的应用”,再点击“仪器设备管理平台”。

如果该应用尚未添加收藏,请点击下方“添加应用”按钮,然后从列表中找到“仪器设备管理平台”,并点击右侧的心完成收藏。


4、进入平台后,从“业务系统”板块的资产管理或常用功能板块的快捷入口都可进入系统

二、查询资产(较旧版有重大更新)
1、导出名下全部设备。在导航栏上点击“查询”,再点击“导出Excel”,保存到本地查询。



2、按编号搜索设备。在“资产编号”里键入编号(如果有多个,中间用半角逗号隔开),然后按“查询”即可。此搜索支持模糊查询,比如省略编号后缀FF、DD也能搜出来。


3、修改附注。在“我的全部资产”中选中需要备注的条目,点击功能导航最右侧的三条蓝色短横线,点击“标记附注”。(可多选进行批量操作)

附录1:
1.1 领用人查询本人名下的全部资产及修改附注(领用人备注).doc
三、学院内部调拨(步骤较旧系统有较大改变)
公司内部的资产转移,首先由转出的老师在系统里提出申请并打印变动单,然后转出转入双方老师签字,再由转出方老师扫描成PDF上传并提交,最后由转入方老师在自己的系统里确认变动以完成转移。
具体操作可参考以下说明:
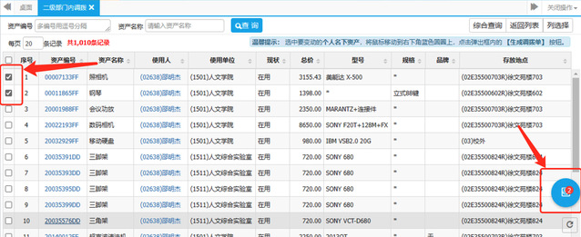
1、进入系统后,转出方老师先点击导航栏的“资产管理”,然后点击“二级部门内调拨”,再点击“部门内部调拨申请”即可看到名下所有设备的清单。(如果只是变动保管人的话也可以直接点击“部门内部使用人变动”,再点击“使用人变动申请”来操作。)

点击“已阅读,不再显示”可永久关闭该业务说明。

点击“列选择”关闭不需要的列,可以提高表格的可读性。

2、通过搜索或翻页找到需要转移的设备,勾选它们后,鼠标移到右下方的蓝色提示圈便会弹出已被勾选的设备,确认无误后点击“生成调拨单”。(注:同样支持模糊搜索)


3、“变动后使用人”填转入方老师的名字,使用单位跟原先一致,变动原因如实填写即可。三个必选项填完后,先按右上方的“保存”,再按“打印预览”,把纸质变动单打印出来。转出和转入的老师都在变动单上签字,并由转出方老师扫描进电脑(需要PDF格式),上传到下图第三点处,然后点“保存”,最后点“提交”。


4、转入方老师进自己的仪器管理平台,在待办业务板块会看到相关提醒,进入点“同意”即可。老师们需要操作的步骤到此为止,之后的流程会走到学院资产管理员处,管理员审核通过,整个转移过程就完成了



附录2:








